红星资本局9月28日消息,针对近日大连万达集团股份有限公司(以下简称“大连万达”)及其法定代表人王健林等被限制高消费一事,红星资本局从万达知情人士处获悉,此事是“由于万达下属项目公司经济纠纷导致,事实上之前双方一直在通过多种方式协商解决,我们也正在了解具体情况,本次或是因在执行层面信息不对称导致。”
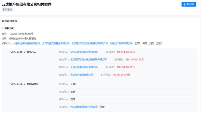
红星资本局通过天眼查App查询发现,相关案件执行标的为1.86亿元,执行法院为甘肃省兰州市中级人民法院,发布时期为9月26日,被执行人涉及武汉万达文旅置业有限公司、武汉楚河汉街文化旅游投资有限公司、大连万达集团股份有限公司、万达地产集团有限公司。

图据天眼查App
另据中国执行信息公开网,上述案件立案日期为今年7月16日。

图据中国执行信息公开网
天眼查显示,大连万达成立于1992年9月,法定代表人为王健林,注册资本10亿元,经营范围包括商业地产投资及经营、酒店建设投资及经营、连锁百货投资及经营、电影院线等文化产业投资及经营;货物进出口、技术进出口、国内一般贸易等。股东信息显示,该公司由大连合兴投资有限公司、王健林共同持股。风险信息显示,该公司现存11条被执行人信息,被执行总金额超52亿元。此外,大连万达所持多家公司股权已被冻结。
据天眼查显示,截至目前,大连万达已有10条被执行人信息,总金额52.62亿元,1条被限制高消费信息,同时还有38条“股权冻结”相关信息。此外,大连万达商业管理集团股份有限公司也有1条被执行人信息,被执行总金额295.9万元;万达地产集团有限公司有423条被执行人信息,被执行总金额共计18.4亿元,其中失信被执行人共4条,涉案总金额211.51万元。合计来看,万达系各公司的被执行总金额已经超过70亿元。
红星新闻记者 俞瑶 实习记者 李海颜
编辑 肖世清
审核 冯玲玲
股份回购仲裁未获支持,苏宁仍将寻求回购 时间回溯至2024年10月22日。 彼时,苏宁易购公告披露的一起重大仲裁案件进展显示,苏宁易购及其子公司苏宁国际作为申请人,要求万达集团支付4.1亿股股份的回购...
又有大宗资产在法拍平台上架。 10月16日,《国际金融报》记者注意到,位于福建省泉州市丰泽区的泉州浦西万达广场商业综合体2号建筑(单幢酒店)被司法拍卖。起拍日期为11月3日,起拍价3.31亿元,相当于...
王首富也没想到,自己还能登上热搜。 因为又被迫卖了48座万达广场。 当年,王健林在每一座城市,通过卖金街和公寓,可以白赚一座万达广场,迅速成为首富。 但后面的野心,让他动了别人的奶酪,还签下了上市对...
此次中国儒意收购快钱金融,意在一张支付牌照。中国儒意在公告中提到,预期快钱金融的支付服务能够与中国儒意现有业务,包括线上流媒体、线上游戏服务,以及公司间接投资的附属公司万达电影股份有限公司的线下影城业...
仅仅因为1.8个小目标,曾经的中国首富王健林居然就被限高了。 虽然第3天万达就发布消息澄清,说这次限高是个大乌龙,是因为万达下属公司的经济纠纷导致,目前对老王的限高已经解除。 但不管怎么说,它都给...
当然,“万万联合”,并不是仅仅为了吸引眼球,双方的联手跟当时房地产行业大背景下两家企业各自诉求有关。彼时,中国房地产市场已进入供需平衡为主要特征的阶段,房地产企业发展需要新思维、新模式,而万达与万科的...