红星资本局12月8日消息,据天眼查,近日,大连万达集团股份有限公司、万达地产集团有限公司等新增1条恢复执行信息,执行标的17亿余元,执行法院为甘肃矿区人民法院。

图据天眼查
大连万达集团股份有限公司成立于1992年9月,法定代表人为王健林,注册资本10亿人民币,经营范围包括商业地产投资及经营、酒店建设投资及经营、连锁百货投资及经营、电影院线等文化产业投资及经营等。股东信息显示,该公司由大连合兴投资有限公司、王健林共同持股。
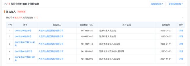
风险信息显示,目前,该公司存在10余条被执行人信息,被执行总金额超69亿元。

图据天眼查
自9月以来,关于王健林被“限高”消息不断,红星资本局此前报道,9月11日,据中国执行信息公开网显示,大连万达新增一则被执行人信息,执行标的4亿余元,执行法院为北京金融法院。
9月28日,针对近日大连万达及其法定代表人王健林等被限制高消费一事,红星资本局从万达知情人士处获悉,此事是“由于万达下属项目公司经济纠纷导致,事实上之前双方一直在通过多种方式协商解决,我们也正在了解具体情况,本次或是因在执行层面信息不对称导致”。
9月29日,红星资本局查询中国执行信息公开网发现,已无万达集团董事长王健林“限高”信息,仅能查询到大连万达集团股份有限公司执行信息及立案时间。同时,天眼查App上王健林“限高”风险已无显示。
近期,万达还因首次赎回一座万达广场引发关注,天眼查显示,12月2日,烟台芝罘万达广场有限公司发生工商变更,新华保险旗下坤华(天津)股权投资合伙企业(有限合伙)(以下简称坤华股权投资)、坤元辰兴(厦门)投资管理咨询有限公司退出股东行列,新增上海万达锐驰企业管理有限公司为全资控股股东,同时多位高级管理人员信息发生变更。
然而,12月3日,烟台芝罘万达广场有限公司工商信息再次变更。上海万达锐驰企业管理有限公司退出股东行列,苏州联商玖号商业管理有限公司变为全资持股,法定代表人及主要人员也有变动。
这意味着,万达集团首次赎回的一座万达广场,仅一天就被转让。

资料配图 图据视觉中国
据国家市场监督管理总局网站5月消息显示,已批准太盟珠海、高和丰德等经营者收购北京银河万达企业管理有限公司等48家公司股权案。
此外,万达又零星出售位于宣城、铜陵、安阳、四平、扬州等地的多座万达广场。据贝壳财经报道,截至10月1日,累计出售的万达广场数量已经超过80座。
(本文不构成投资建议,据此操作风险自担)
编辑 杨程 综合自第一财经、中新经纬、公开资料
审核 何先菊
随着董事长、总裁徐晰人被刑事拘留,北大医药(000788.SZ)及其控股方西南合成医药集团有限公司(简称合成集团或西南合成),深陷舆论漩涡。 11月4日,重庆渝北区,合成集团最早的洛碛厂区,一场夜雨...
红星资本局7月27日消息,富力地产(02777.HK)再次出售核心资产。 近日,京东资产交易平台披露的信息显示,位于广东省佛山市南海区桂城街道海五路28号的华南国际金融中心406室、407室共387处...
*此图由AI生成 作者| 史大郎&猫哥 来源| 是史大郎&大猫财经Pro 银行卖房,也搞“双11”。 某国有大行在资产拍卖平台,开了双十一专场,专门推荐旗下分行手中的商铺资产,“银行直供”,单价不到...
9月11日晚,恒大物业发布公告,透露中国恒大的清盘人已收到针对该公司的非约束性收购意向。 这一消息迅速点燃资本市场的热情,今日复牌,恒大物业股价盘中一度暴涨超40%,截止发稿涨29.35%,报1.19...
来源:快刀财经(ID:kuaidaocaijing) 以前争着买,现在抢着卖。谁能想到,曾经象征着“高端”“体面”的五星级酒店,如今正经历着一场前所未有的“大逃杀”。 三亚金茂希尔顿、天津丽思卡尔顿、...
2025年,复星国际的资产处置仍在持续。 5月28日,天元宠物(301335.SZ)发布关于发行股份及支付现金购买资产并募集配套资金暨关联交易报告书(草案),拟从17名交易对方手中购买广州淘通科技股份...