老牌国货双星鞋业家族内斗再掀波澜。
1月4日,红星资本局从汪海方工作人员处获悉,84岁的双星创始人汪海发布公开信,宣布与儿子汪军、儿媳徐英断绝关系。
2025年4月,汪海与儿子儿媳的矛盾首次曝光。当时,一封署名汪海的公开信在网络上流传,其控诉儿子汪军、儿媳徐英及孙子汪子栋通过“抢夺公章、限制人身自由”等手段逼迫交权。此后,双方陷入长期拉锯。
红星资本局了解到,汪海与儿子儿媳的矛盾,或始于3年前双星名人集团股权结构的变更。“夺权风波”3个月后,汪海将儿子汪军、儿媳徐英告上法庭,诉讼背后直指双星名人集团的控制权之争。

汪海 资料图 图据视觉中国
84岁创始人宣布断绝父子关系
1月3日,84岁的双星创始人汪海发布了一封“断绝父子关系的声明”,文末有亲笔签名及手印。其中提到,“因我与汪军之间存在志不同道不合根本的分歧和不可调和的矛盾,现就断绝父子关系,做如下声明。”

图片来自汪海方工作人员
随后,汪海列出11条声明,包括接班争议、抢夺公章和侵占财产等。汪海称,将成立“双星名人品牌接班委员会”,主张“能人接班”和“职业经理人接班”,疑似质疑汪军的接班能力。
1月4日,红星资本局向青岛双星名人集团股份有限公司(以下简称“双星名人集团”)询问是否关注到上述声明,截至发稿,暂未获得回复。
资料显示,双星名人集团前身为国营青岛第九橡胶厂,创建于1921年,至今已有百年历史,是我国最早的制鞋工厂。在汪海的带领下,其20世纪80年代崛起为行业龙头,双星运动鞋曾连续15年蝉联全国销量第一。2008年,双星集团完成改制,鞋服业务独立为双星名人集团。
红星资本局注意到,汪海与儿子儿媳的矛盾首次曝光是在2025年4月。当时,一封署名汪海的公开信在网络上流传,其控诉儿子汪军、儿媳徐英及孙子汪子栋通过“抢夺公章、限制人身自由”等手段逼迫交权。信中称,2025年4月11日,汪子栋限制汪海人身自由两小时,徐英、汪军带人闯入办公室毁坏监控设备、殴打工作人员、阻挠会议,企图抢夺公章未果。
2025年5月,双星名人集团微信公众号发文,虽未公开回应此事,但信中提到“总经理汪军代表新一届领导班子”,其中已经不见汪海身影。
双方陷入“拉锯战”,多次对簿公堂
此后,汪海与儿子儿媳陷入“拉锯战”。
2025年5月,双星名人集团董事会对外发布一则公告,称免去汪海董事长职务,选举徐英担任董事长。该公告还提到,汪海签署的文件以及盖有原公章的文件,均不再具有法律效力。
紧接着汪海一方发起反击。同年5月25日,汪海仍以董事长的名义发出声明,称上述公告无效,汪海仍为公司唯一合法董事长,并要求徐英等相关人员立即停止干扰公司治理、损害公司正常经营的各种行为。
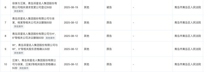
3个月后,汪海又将儿子儿媳诉至法庭。2025年8月,青岛市黄岛区人民法院发布了两起与双星名人集团有关的庭审公告。
一起是“股东资格确认纠纷”,原告为汪海和双星名人集团。站在被告席的则是汪海的儿媳徐英、儿子汪军、两人控股的青岛星迈达工贸有限公司(以下简称“星迈达”)、以及青岛恒德锦成贸易有限公司(以下简称“青岛恒德”)。
另一起是“公司决议撤销纠纷”,原告仍是双星名人集团,被告则是儿媳徐英,以及杨昆、邢艺凤和黄建辉三人。
红星资本局注意到,杨昆三人是双星名人集团的董事,均在公司担任重要职位。过往公开资料显示,杨昆为集团副总监,邢艺凤曾任集团总经理,黄建辉曾任集团市场品牌经营总公司总经理。
从案由来看,似乎指向双星名人集团的控制权之争。股权领域专业律师王晓营向红星资本局分析道,股东资格确认是指公司的实际出资人委托其他人代为持股,自己没有登记为工商股东,需要通过法律诉讼确认自己为实际股东,即隐名股东要显名化。
王晓营表示,公司决议纠纷是指股东会决议或者董事会决议召集或表决违反法定程序或者违反法律法规,公司章程等,对此请求撤销。
截至目前,上述案件暂未公开结果。天眼查App显示,2025年8月,汪海和徐英双方疑似有多起互诉案件,案由包括请求变更公司登记、撤销决议等等。

图片来自天眼查App
矛盾或源于三年前的股权变更
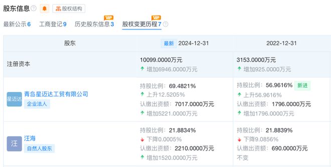
汪海与儿媳徐英的矛盾,或始于3年前双星名人集团股权结构的变更。
2022年6月,星迈达增资入主双星名人集团,一举成为控股股东;2024年5月再度加码,持股比例升至69.48%。汪海退至第二大股东,持股21.88%。
穿透股权可以看到,星迈达的实控人和大股东正是儿媳徐英,控股80%;儿子汪军和青岛恒德分别控股10%。这意味着,徐英成了双星名人集团的实控人。

图片来自天眼查App
根据汪海首次发布的公开信,2024年8月,徐英在集团小范围领导会上由汪海口头宣布分管集团财务工作及协助其处理集团相关工作,但因工作能力差,不能胜任集团领导工作,已于2025年4月被免去全部职务。
汪海和徐英的控制权之争结果如何?红星资本局注意到,双星名人集团公众号2025年9月发布的内容显示,汪军目前是双星名人集团董事长,其子汪子栋则以集团总经理的身份出席会议。徐英也出现在1月4日的一则推文中,但没有职务头衔。
有知情人士告诉红星资本局,双星名人集团目前的核心管理团队以汪军、汪子栋及其他董事为主。
有市场声音认为,双星作为90年代“鞋王”,如今面临品牌老化、市场份额下滑的困境。家族内斗不仅消耗了战略转型的注意力,也让市场对双星品牌信心受损。
双星内部管理层也意识到了这个问题。红星资本局注意到,双星名人集团曾发文表示:“陈旧的体制、复杂的管理以及人才的断层也制约了品牌的创新力。”
公司内部也在做出改变。2025年10月,双星名人临沂旗舰店开设,其宣传文案提到:正加快推进终端升级步伐,未来将持续推动门店从形象、面积、体验等多维度实现全面提升,不断强化品牌影响力与市场竞争力。
近日,现制茶饮品牌古茗搞起了百万免单活动。 “壕”气的古茗(01364.HK)不仅给消费者发福利,更为自家股东抛出“现金大礼包”——总金额超22亿港元的特别股息。 其中,超七成股息将流向公司实控人及一...
创始人Chip Wilson的公开信像一声惊雷,试图震醒沉浸在数字增长中的lululemon。 “当我在1998年创立lululemon时,这个品牌建立在对创新、产品、文化和顾客体验的专注追求之上。我...
作者 | 于米 世界改变前,语言总是先失控。 “追觅生态将成为人类历史上第一个百万亿美元的公司生态”——追觅俞浩豪言一出,舆论的第一反应几乎是一边倒的:吹牛,还是喝多了? 这是创始人个人风格的粗粝表...
创始人余惠勇的一番言论,让百果园连续几天挂在微博热搜上。 "我们一直在教育消费者"、"百果园不迎合消费者"等观点,不仅未能解释百果园的水果价格为什么贵的质疑,还在互联网上引发强烈的舆论反弹。 现实,给...
昔日的行业冠军,如今却以控股股东破产重整的方式再度进入公众视野,贝因美与其创始人谢宏的故事,堪称中国商界一部跌宕起伏的警示录。 从凭借敏锐嗅觉与时代机遇迅速崛起,到因战略迷失、管理失焦而骤然坠落,其兴...
摘要: 1、专利诉讼:大洋电机在美遭尼得科提起专利诉讼,上市与海外业务面临不确定性。 2、大客户占比:前五大客户贡献收入超三成,大客户依赖度提升,贸易应收款持续上升。 3、成长潜力:大洋电机在HVAC...