六六科学博客
首页
留言本
科普博客 - 专注于分享最新的网络日常资源和网站建站Seo技术信息!
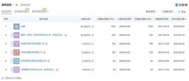
315“外泌体”牵出关联上市公司!实控人系贝瑞基因高管、含中科院基因所履历
客服微99643843
56分钟前
1
315“外泌体”牵出关联上市公司!实控人系贝瑞基因高管、含中科院基因所履历,赵辉,泌体,免疫,贝瑞基因...
查看全文
被曝是“三无”产品,曾售999元/3ml!新氧下架“外泌体”,工作人员称“不会再上架”
客服微99643843
8小时前
12
被曝是“三无”产品,曾售999元/3ml!新氧下架“外泌体”,工作人员称“不会再上架”,新氧,医美,ml,美容,外泌体...
查看全文
控制面板
您好,欢迎到访网站!
登录后台
查看权限
网站分类
财经知识
金融知识
用卡知识
seo教程
黄金知识
分期知识
科学知识
最新留言
客服微信:
BT86616
点击复制并跳转微信